Tá pacáistiú boltaí heicseagánach Fastening Slán deartha chun iad a choinneáil eagraithe agus damáiste a chosc. Tagann na boscaí pacáistithe seo le líneáil bhog a bhfuil sliotáin feistithe orthu. Suíonn na boltaí iontu ceann-le-ceann, mar sin fanann gach bolt heicsidheachúlach curtha. Déanann sé seo iad a phiocadh agus a chur go tapa agus cuireann sé cosc ar aon scratches i loingseoireacht. Le haghaidh iompair mórchóir, is minic a phacáiltear boltaí heicseagánacha 500 píosa in aghaidh an mhála. Ansin cuirtear na málaí seo isteach i mboscaí istigh agus i gcásanna adhmaid treisithe chun an t-ualach a choinneáil cobhsaí. I gcás tionscail ríthábhachtacha, d'fhéadfadh go gcomhlíonfadh roghanna pacáistithe ard-speictream caighdeáin mhíleata dian. Is féidir málaí séalaithe, gréiscdhíonach agus uiscedhíonach a áireamh leis seo a chosnaíonn na boltaí ó chreimeadh le linn stórála agus seolta.
Léiríonn an grád ar bolt heicsidheachúlach a neart. Tá na marcálacha grád seo ar chinn na boltaí chun iad a aithint go héasca. Áirítear le gráid choitianta ISO 4.6, 8.8, 10.9, agus 12.9. Is bolt meán-neart coitianta é Grád 8.8, agus tá 10.9 agus 12.9 ard-neart agus úsáidtear iad i réimsí éilitheacha cosúil le gluaisteáin agus tógáil. Sainmhíníonn caighdeáin ASTM mar A307 agus A325 feidhmíocht bolt freisin. Tá an grád ceart ag roghnú boltaí Heicseagánach Fastening Slán le sábháilteacht, toisc go gcinntíonn sé gur féidir leis an bolt an t-ualach a láimhseáil gan teip.
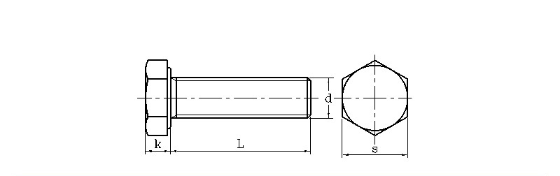
| mm | |||||||
| d | S | k | d | Snáithe | |||
| uas | nóim | uas | nóim | uas | nóim | ||
| M3 | 5.32 | 5.5 | 1.87 | 2.12 | 2.87 | 2.98 | 0.5 |
| M4 | 6.78 | 7 | 2.67 | 2.92 | 3.83 | 3.98 | 0.7 |
| M5 | 7.78 | 8 | 3.35 | 3.65 | 4.82 | 4.97 | 0.8 |
| M6 | 9.78 | 10 | 3.85 | 4.14 | 5.79 | 5.97 | 1 |
| M8 | 12.73 | 13 | 5.15 | 5.45 | 7.76 | 7.97 | 1.25 |
| M10 | 15.73 | 16 | 6.22 | 6.58 | 9.73 | 9.96 | 1.5 |
| M12 | 17.73 | 18 | 7.32 | 7.68 | 11.7 | 11.96 | 1.75 |
| M14 | 20.67 | 21 | 8.62 | 8.98 | 13.68 | 13.96 | 2 |
| M16 | 23.67 | 24 | 9.82 | 10.18 | 15.68 | 15.96 | 2 |
| M18 | 26.67 | 27 | 11.28 | 11.7 | 17.62 | 17.95 | 2.5 |
| M20 | 29.67 | 30 | 12.28 | 12.71 | 19.62 | 19.95 | 2.5 |
An féidir leat na roghanna comhdhéanta ábhair agus cosanta creimthe a mhíniú do do boltaí Heicseagánacha Fastening Slán?
Táirgeann muid ár boltaí heicsidheachúlach in ábhair éagsúla cosúil le cruach ísealcharbóin, cruach cóimhiotail níos láidre, agus cruach dhosmálta (A2-304 agus A4-316). Chun cosaint i gcoinne meirge, cuirimid bratuithe ar nós since leictri-ghalbhánuithe, galbhánú te-tumtha, agus Dacromet. Tá sé tábhachtach an sciath cheart a roghnú cé chomh fada agus a mhaireann an bolt, go háirithe in áiteanna diana mar láithreáin tógála nó in aice na farraige.
