I meaisíní monarchan, d’fhéadfaí bioráin scoilte a úsáid i insí nó i n-altanna gluaiseachta chun gach rud a choinneáil ailínithe. Ar bháid, is féidir leis crua-earraí cosúil le cleats a choinneáil in áit. Le húsáid laethúil, d'fhéadfá bioráin scoilte a úsáid chun lann lomaire faiche nó pedal rothair a dhaingniú. Níl le déanamh agat ach an bioráin scoilte a bhrú trí pholl agus an dá phingin a lúbadh óna chéile – is bealach simplí é chun nasc a dhéanamh a choinníonn go daingean ach is féidir é a bhaint nuair is gá.
Liostaíonn an teastas sonraí faoin bioráin scoilte - cé a rinne é, cad as a bhfuil sé déanta, a mhéid, agus cén baisc as ar tháinig sé. Léiríonn sé go ndearnadh tástáil ar an bioráin scoilte le haghaidh rudaí cosúil le neart, cruinneas méide, agus cibé an lúbann sé i gceart gan briseadh. Seiceálann siad freisin go bhfuil an chóireáil dromchla, cosúil le plating since, déanta i gceart.
Déanann na cigirí a rinne na tástálacha an deimhniú a shíniú agus a stampáil. Tá an páipéarachas seo úsáideach do ghnóthais ar gá dóibh a chruthú go gcomhlíonann a gcuid bioráin scoilte ceanglais shonracha, go háirithe i dtionscail ar nós na ngluaisteán nó na déantúsaíochta ina bhfuil rianú cáilíochta tábhachtach. Go bunúsach is é do dhearbhú go bhfuil an bioráin scoilte seiceáilte i gceart sula bhfaigheann tú é.
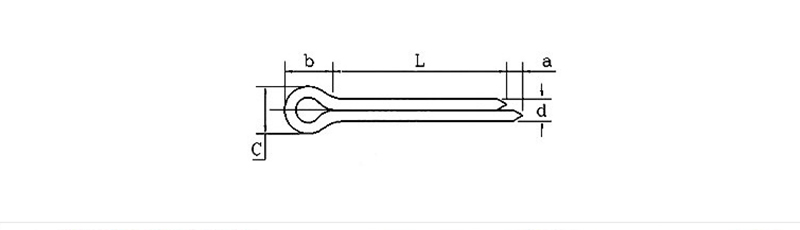
| d | 0.6 | 0.8 | 1 | 1.2 | 1.5 | 2 | 2.5 | 3.2 | 4 | 5 | 6.3 | 8 | 10 | 13 | 16 | 20 | |
| d | uas | 0.5 | 0.7 | 0.9 | 1 | 1.4 | 1.8 | 2.3 | 2.9 | 3.7 | 4.6 | 5.9 | 7.5 | 9.5 | 12.4 | 15.4 | 19.3 |
| nóim | 0.4 | 0.6 | 0.8 | 0.9 | 1.3 | 1.7 | 2.1 | 2.7 | 3.5 | 4.4 | 5.7 | 7.3 | 9.3 | 12.1 | 15.1 | 19 | |
| a | uas | 1.6 | 1.6 | 1.6 | 2.5 | 2.5 | 2.5 | 2.5 | 3.2 | 4 | 4 | 4 | 4 | 6.3 | 6.3 | 6.3 | 6.3 |
| nóim | 0.8 | 0.8 | 0.8 | 1.25 | 1.25 | 1.25 | 1.25 | 1.6 | 2 | 2 | 2 | 2 | 3.15 | 3.15 | 3.15 | 3.15 | |
| b≈ | 2 | 2.4 | 3 | 3 | 3.2 | 4 | 5 | 6.4 | 8 | 10 | 12.6 | 16 | 20 | 26 | 32 | 40 | |
| C | uas | 1 | 1.4 | 1.8 | 2 | 2.8 | 3.6 | 4.6 | 5.8 | 7.4 | 9.2 | 11.8 | 15 | 19 | 24.8 | 30.8 | 38.5 |
| nóim | 0.9 | 1.2 | 1.6 | 1.7 | 2.4 | 3.2 | 4 | 5.1 | 6.5 | 8 | 10.3 | 13.1 | 16.6 | 21.7 | 27 | 33.8 | |
Úsáidtear bioráin scoilte costéifeachtach go príomha chun páirteanna a choinneáil ó bheith scaoilte i meaisíní, gluaisteáin agus trealamh. Is é an post atá aige ná boltaí, sloic nó bioráin eile a stopadh ó sleamhnú amach mar gheall ar chreathadh. Mar shampla, i gcarr, is minic a gheobhaidh tú bioráin scoilte sna moil rotha nó ar fhionraí chun cabhrú le rudaí a choinneáil slán.
I meaisíní monarchan, d’fhéadfaí bioráin scoilte a úsáid i insí nó i n-altanna gluaiseachta chun gach rud a choinneáil ailínithe. Ar bháid, is féidir leis crua-earraí cosúil le cleats a choinneáil in áit. Le húsáid laethúil, d'fhéadfá bioráin scoilte a úsáid chun lann lomaire faiche nó pedal rothair a dhaingniú. Níl le déanamh agat ach an bioráin scoilte a bhrú trí pholl agus an dá phingin a lúbadh óna chéile – is bealach simplí é chun nasc a dhéanamh a choinníonn go daingean ach is féidir é a bhaint nuair is gá.
Ceist: An féidir leat teastas a sholáthar le haghaidh do bhioráin scoilte atá Éifeachtach ó thaobh Costas?
Freagra: Sea, is féidir linn deimhniú ábhartha a thabhairt duit don bioráin. Léiríonn sé go gcomhlíonann muid caighdeáin cosúil le ISO 1234. Cinntíonn sé seo go seiceálann na bioráin scoilte a gheobhaidh tú leis na sonraíochtaí meicniúla agus tríthoiseacha a d'aontaigh muid.
